
产品名称:VSQD卫生级气动球阀
产品标签:球阀,卫生级气动球阀
更新时间:2019/6/7 10:09:02
上一个产品: VQ947H/VQ977H电动V型球阀
下一个产品:ZGWS卫生级球阀
在线客服:
在线订购:在线订购
产品详情
VSQD卫生级气动球阀产品概述:
气动卫生级气动球阀产品内外用高等抛光装备处置惩罚,抵达外貌细密度要求,有快装、焊接、螺纹毗连方法,卫生级气动球阀普遍用于食物、饮料、制药、乳制品、啤酒以及细腻化工。
标准:DIN、SMS、ISO、IDF、3A、RJT、DS、BS、BPE、API,JIS,GB 。
气动卫生级球阀,驱动方法可选用手动、蜗轮、气动、电动,毗连方法可选用法兰、对夹、卡箍、卡套,结构形式可选用直通式,密封结构可选用软密封、硬密封,压力规模PN0.1-10Mpa,公称通径为DN6-100mm,材质可选用不锈钢。由于阀门的使用规模很是的普遍,统一种阀门在差别的场合与工况有差别的搭配。
VSQD卫生级气动球阀性能参数
1、公称通径:15~80mm;
2、公称压力:PN(1.6,2.5,4.0,6.4)Mpa;<
3、毗连形式:卡箍夹套;
4、阀体质料:ZG1Cr18Ni9Ti,ZG1Cr18Ni12mo2Ti, CF8,CF8m;
5、温度规模:常温-40℃~180℃,中温-40℃~350℃,高温-40OC-450OC;
6、填料:型聚四氟乙烯填料,柔性石墨;
7、阀芯型式:O型阀芯
8、流量特征:快开特征
9、阀芯质料:Icr18Ni9TI 0017Ni12Mo2Ti;
10、阀座质料:聚四氟乙烯(PTFE),特制PPL,金属阀座
11、可调比:350:1;
12、气缸形式:单缸或双缸式
13、气缸事情压力:0.4~0.7 Mpa;
14、气缸开关时间:双作用式1~5秒;
15、气缸空气耗量:1~131L;
16、电磁阀电源:220VAC,110VAC,24VAC,24VD
VSQD卫生级气动球阀手艺参数
|
空气驱动 |
压缩空气 4-6bar(可带手轮) |
|
公称通经 |
15~100mm |
|
公称压力 |
1.6~6.3Mpa |
|
适用温度 |
-20~+200℃ |
|
毗连方法 |
对焊、卡箍 |
|
阀结构 |
三块式 |
|
阀体材质 |
316L、316 |
|
阀芯材质 |
316L、316 |
|
密封材质 |
PTFE |
|
适用介质 |
卫生级别工矿适用 |
|
可选附件 |
限位开关、定位器、电磁阀、减压阀 |
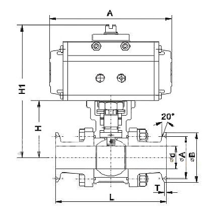
VSQD卫生级气动球阀毗连尺寸
|
通径 (mm) |
英寸″ |
尺寸( mm) |
|||||
|
卡箍 |
对接 |
||||||
|
L |
D1 |
D2 |
L |
D1 |
D2 |
||
|
15 |
1/2 |
88.9 |
9.4 |
25.4 |
88.9 |
9.4 |
12.7 |
|
20 |
3/4 |
101.6 |
15.7 |
25.4 |
101.6 |
15.7 |
19.1 |
|
25 |
1 |
114.3 |
22.1 |
50.4 |
114.3 |
22.1 |
25.4 |
|
40 |
1
1/2 |
139.7 |
34.8 |
50.4 |
139.7 |
34.8 |
38.1 |
|
50 |
2 |
158.8 |
47.5 |
63.9 |
158.8 |
47.5 |
50.8 |
|
65 |
2
1/2 |
197.5 |
60.2 |
77.5 |
197.5 |
60.2 |
63.5 |
|
80 |
3 |
228.6 |
72.9 |
90.9 |
228.6 |
72.9 |
76.2 |
|
100 |
4 |
241.3 |
97.4 |
118.9 |
241.3 |
97.4 |
101.6 |
![]() |
注:以上的产品先容,参数,图片,数据仅用于参考,若是需更准确的资料请咨询公司手艺效劳热线:18117208829





