多彩同盟

  电话:+86 021-69783299    传真:+86 021-33275139    邮箱:ludahua27@163.com

目今的位置:阀门 > 产品中心 > 电磁阀

ZCA真空电磁阀

产品名称:ZCA真空电磁阀

产品标签:电磁阀,ZCA真空电磁阀

更新时间:2019/5/9 9:48:39

上一个产品:没有资料

下一个产品:ZCZG高温高压电磁阀

在线客服:点击这里给我发新闻 点击这里给我发新闻

在线订购:在线订购



产品详情

ZCA真空电磁阀产品概述:
ZCA真空电磁阀是适用于真空装备管路做二位式通断切换执行机构。它普遍应用于食物、冶金等行业真空系统管路上。
手艺参数

事情介质
空气等非侵蚀性气体
介质温度 ℃
≤60
事情压力 MPa
1.0
事情压差 MPa
-0.1~0
电源电压
AC220V DC24V 其余规格可作特殊订货
使用寿命
JB/T7352-94划定
额定流量系数 KV
3.8
7.4
10.3
18.8
25.7
41
走漏量 ml/min
按JB/T7352-94.F划定
公称通径 mm
15
20
25
32
40
50
功 耗(VA)
50
90

 多彩同盟(中国游)官方网站

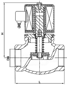
装置尺寸

公称通径 DN
内螺纹毗连
法兰毗连
内螺纹
形状尺寸
形状尺寸
法兰尺寸
G
H
L
H
L
D
D1
D2
n-d
b
f
15
1/2″
148
92
176
130
95
65
46
4-φ14
14
2
20
3/4″
148
92
181
150
105
75
56
4-φ14
16
2
25
1″
148
110
210
160
115
85
65
4-φ14
16
3
32
11/4″
182
120
221
180
140
100
76
4-φ18
18
3
40
11/2″
182
140
230
200
150
110
84
4-φ18
18
3
50
2″
192
162
252
230
165
125
99
4-φ18
20
3
注:以上的产品先容  ,参数  ,图片  ,数据仅用于参考  ,若是需更准确的资料请咨询公司手艺效劳热线:18117208829

 

All Rights Reserved 版权所有 多彩联盟 ©2010-2019 ZHIFA VALVE CO.,LTD. 沪ICP备16034977号-1 沪公网安备31011802001264号 XMLsiteMap HTMLsiteMap

网站地图